AGITATORE LENTO EVR
AGITATORI INDUSTRIALI LENTI

ALBERO CON RIVESTIMENTO IN PP, PVC o PVDF
AGITATORE LENTO EVR
Caratteristiche:
Albero in acciaio AISI 304-316 o in C45 rivestito in PP, PVC o PVDF, calettato direttamente al riduttore
Girante quadripala con pale inclinate o diritte in acciaio AISI 304-316 o in PP, PVC, PVDF o PE-HD
Su richiesta montaggio tenuta meccanica singola o doppia flussata.

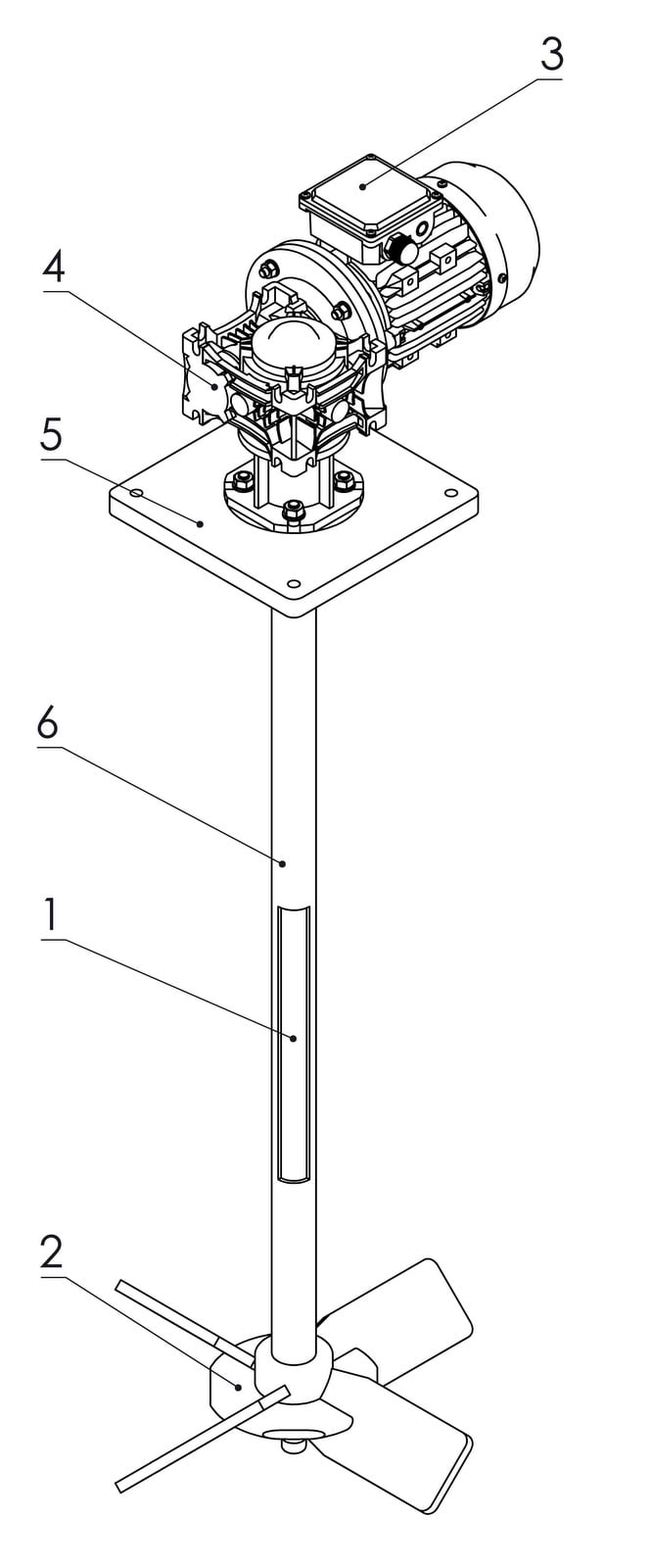
- Albero
- Girante
- Motore (Elettrico/Pneumatico)
- Riduttore
- Piastra di Fissaggio
- Rivestimento

ALBERO IN ACCIAIO AISI 304-316
DATI TECNICI



GIRANTI
GAMMA AGITATORI LENTI

AGITATORE LENTO
EVR

AGITATORE LENTO EVRK

AGITATORE LENTO EVRL





