AGITATORE VELOCE EVK-G
AGITATORI INDUSTRIALI VELOCI

ALBERO CON RIVESTIMENTO IN PP, PVC o PVDF
AGITATORE VELOCE EVK-G
Caratteristiche:
Motore elettrico trifase/monofase 4 poli, 6 poli e 8 poli o Pneumatico.
Supportazione meccanica con lanterna in alluminio e cuscinetto
Collegamento motore/agitatore tramite giunto in alluminio 7075 autoallineante
Albero in acciaio AISI 304-316 o in C45 rivestito in PP, PVC, PVDF o PE-HD
Girante elica tripala marina in acciaio AISI 304-316 o in PP, PVC o PVDF.

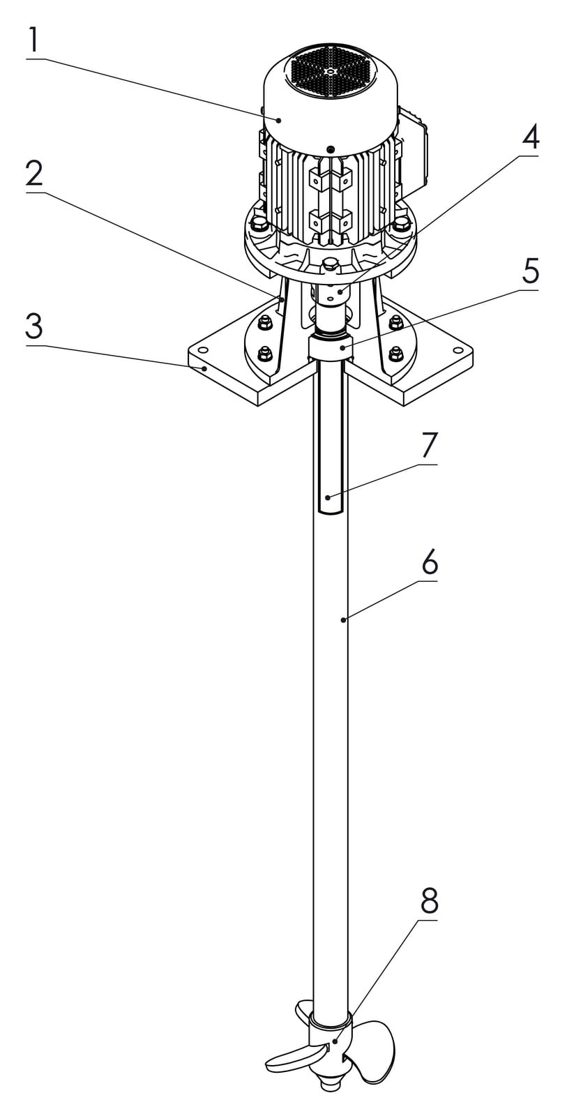
- Motore (Elettrico/Pneumatico)
- Lanterna
- Piastra di Fissaggio
- Giunto
- Cuscinetto
- Rivestimento
- Albero
- Girante
Nota: le dimensioni della piastra possono variare in base alle esigenze

ALBERO IN ACCIAIO AISI 304-316
DATI TECNICI



*In base all’altezza del contenitore o serbatoio
GIRANTI

GIRANTE TRIPALA
Campo di utilizzo da 500 a 1500 rpm

GIRANTE COWLESS
Campo di utilizzo da 300 a 3000 rpm

GIRANTE PALE DIRITTE – RUSHTON
Campo di utilizzo da 300 a 1400 rpm

GIRANTE EMULSIONATRICE
Campo di utilizzo da 500 a 2000 rpm
GAMMA AGITATORI VELOCI

AGITATORE VELOCE
EV

AGITATORE VELOCE EVK

AGITATORE VELOCE EVL
